配光調整

車両の通行区分が左右で異なる国を走行する場合は、自車のヘッドライトの光が対向車と歩行者の妨げとならないようにするため、次の方法でヘッドランプにシールを貼ってください。


右側ヘッドランプ (単位:mm/インチ) 

左側ヘッドランプ (単位:mm/インチ)
  1. 電源ポジションをOFFにしてください。ヘッドランプが冷えてから作業をしてください。

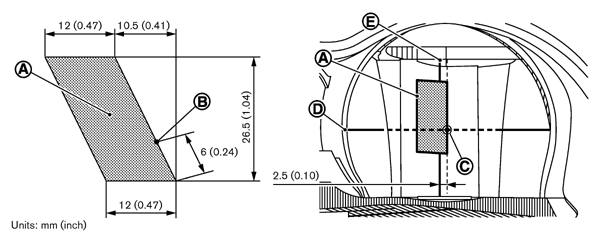
  2. イラストを参考に、左右のヘッドランプ表面に貼るシール(A)を準備してください。 ヘッドランプに貼るときに目印にする(B)の位置に、マーカーなどで印をつけてください。

    必ず光を通さないシールを使用してください。光を通すシールでは効果が得られません。

  3. ヘッドランプ正面から見て、ヘッドランプ表面上にあるマーク(C)に、シールの目印(B)を合わせながら貼り付けてください。イラストのように、縦の点線に沿ってシールを貼りけるようにしてください。

ヘッドランプの正面から見て、目印(C)は以下のように合わせてください。

横軸:

ヘッドランプ内側にあるリフレクター(反射面)の線(D)に目印(C)の横軸を合わせてください。

縦軸:

  • 右側ヘッドランプ

    目印(C)の縦軸を、ヘッドランプ内側のリフレクターの線(E)から約2.5mm車両内側に合わせてください。シールを貼ったときに、イラストのように縦の点線に沿って外側にシールを貼り付けてください。

  • 左側ヘッドランプ

    目印(C)の縦軸を、ヘッドランプ内側のリフレクターの線(E)から約2.5mm車両外側に合わせてください。シールを貼ったときに、イラストのように縦の点線に沿って内側にシールを貼り付けてください。